산업 산업일반

투비소프트, AI 기반 맞춤형 상품 추천 장치 특허 획득

파이낸셜뉴스

입력 2021.07.09 15:00

수정 2021.07.09 15:00

사용자 개인정보와 구매 이력을 인공지능이 학습해 최적화된 제품 추천 품목 제공
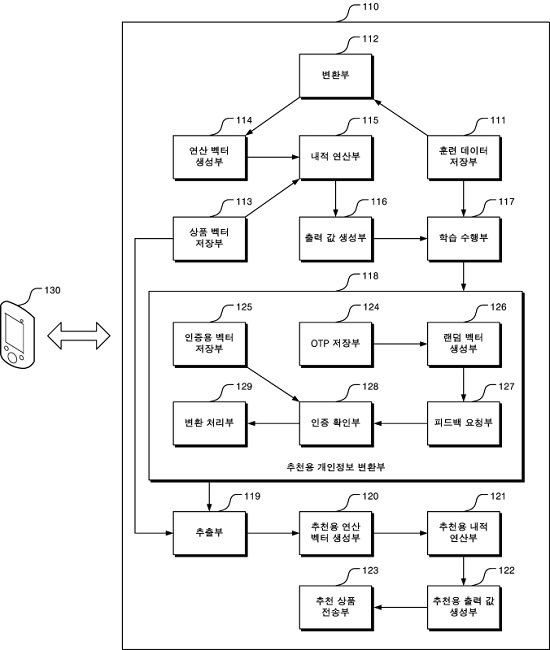
인공지능 기반 맞춤형 상품 추천 장치 구조
인공지능 기반 맞춤형 상품 추천 장치 구조

투비소프트(대표이사 이경찬, 장선수)가 운전자가 차 안에서 인공지능(AI)이 학습해 추천하는 맞춤형 상품을 제공받는 장치를 개발 완료해 특허까지 획득했다고 밝혔다.

앞서 투비소프트는 자체 개발한 커넥티드카 커머스 플랫폼이 2017년 ‘월드클래스 300(WC300) 연구개발 국책과제’로 선정된 이후 지속적인 연구개발과 기술기업들과의 협력 등을 통해 질과 양적 측면 모두에서 괄목할 만한 성과를 거둬온 바 있다.

특히 지난해 말 커넥티드카 결제 기술이 특허를 받은 데 이어 인공지능 기반 맞춤형 상품 추천 장치 특허까지 획득함으로써 해당 분야 전문 플랫폼 기업으로서의 기술적 입지를 넓히는 한편, 커넥티드카 도입을 촉진하는 사용자 편의기능에 대한 풀 스택(Full Stack)을 갖추게 됐다는 평가다.

투비소프트는 “전자상거래 플랫폼 내 사용자 경험(UX) 추세가 편의성에 집중하고 있고, 이를 위해 다양한 추천 알고리즘 기술을 활용하려는 움직임이 활발하다”라며 “협업 필터링 기법이나 콘텐츠 기반 필터링 기법 등의 한계를 극복하고자 딥 러닝(Deep Learning) 을 이용해 추천 장치를 연구·개발했다”라고 밝혔다.

실제로 협업 필터링 기법의 경우 새로운 패턴에 대한 추천이 어렵고, 콘텐츠 기반 필터링 기법은 다양성이 떨어져 사용자에게 복잡하고 정교한 상품을 추천하는 데 다소 어려움이 있다.

그러나 개인정보와 상품 구매 이력 등의 데이터를 축적해 이에 기반을 두고 기계학습한 인공지능이 상품을 추천하게 되면 보다 정교하고 다양한 상황을 고려한 개인별 맞춤형 상품 추천이 가능해진다.

공개된 맞춤형 상품 추천 장치는 훈련데이터 저장부에서 사용자로부터 미리 수집한 복수의 개인정보와 구매 이력을 저장한다. 만일 사용자가 맞춤형 상품 추천을 요청할 경우, 상품 벡터 저장부에서는 훈련데이터 저장부 내 개인정보 및 구매 이력을 가지고 기 설정된(predetermined) 수치 변환 테이블을 적용해 대응값을 생성, 사용자에게 제안한다.

투비소프트는 “특히, 맞춤형 상품 추천 장치 내 인공지능은 사용자가 선택한 상품 출력값과 구매 결과값에 손실함수를 적용해 손실값을 연산하는데, 그 과정에서 손실값이 최소화되도록 지속적으로 기계학습을 수행한다는 점이 이번 특허의 핵심”이라고 강조했다.


이경찬 대표이사는 “기존 투비소프트가 연구·개발해온 커넥티드카 플랫폼 기술들과 함께 기능을 지속 강화할 방침이고, 고도화와 신제품 개발에도 적극적으로 활용할 계획”이라며 “최근 중국 현지법인이 자율주행차 관련 현지 기업과도 업무협력을 약속해, 현재 연구·개발된 국내 특허기술에 대한 해외 테스트베드가 마련됐다는 점도 주목해야 한다“고 강조했다.

한편, 시장분석기관 마켓앤마켓에 따르면, 전 세계 커넥티드카 서비스 시장규모는 2024년까지 1,160억 달러(약 130조 원)로 늘어나 연평균성장률(CAGR)이 22.3%에 이를 전망이다.
이를 토대로 예측한 국내 시장규모는 2025년까지 11조3,669억 원까지 증가해 연평균성장률은 24.5%다.